Conteudo
- Indice
- Anterior
- Próxima
- Home
PORTA
O comando PORTA

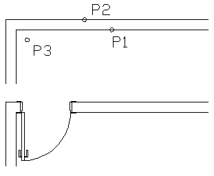
Este comando inicia-se com o quadro de diálogo acima, para entrada dos parâmetros necessários para a rotina. A seguir, constroi continuamente portas em linhas (entidades 'LINE') paralelas, bastando clicar três pontos na sequência demonstrada por P1, P2 e P3. O resultado pode ser visto na figura inferior. Para encerrar o comando, basta clicar enter sem fornecer o ponto P1...
Você pode determinar a camada das entidades clicando o botão 'Layer', bem como as cores de cada entidade, utilizando-se o botão 'Cores'.
Estas definições são salvas em arquivo de configuração, para que sejam mantidas constantes, em todos os desenhos...